所在位置:

HTB型陶瓷泵

HTB型陶瓷泵


HTB 型耐腐耐磨陶瓷泵是单吸单级离心泵,泵体和泵盖采用耐腐、耐磨性优良的耐酸陶瓷制造,外用铸铠装以资保护。叶轮材质主要为工程塑料,如用户需要也可配制工程陶瓷或其它材质。轴封结构为动力密封或机械密封。该泵具有耐腐蚀、耐磨损、耐温、维修方便,使用可靠等优点,适用于输送氢氟酸和热浓碱酸以外的含有悬浮固体颗粒的各种腐蚀性介质。使用温度低于 100℃,(工程塑料叶轮的使用温度视材质和介质的不同而定),温度急变小于 50℃。广泛应用于矿石、有色金属冶炼、白粉制造、稀土、石油、化工、化肥、农药、燃料及高磷土非金属原料提炼等行业中。


0.00
0.00
  


HTB 型耐腐耐磨陶瓷泵是单吸单级离心泵,泵体和泵盖采用耐腐、耐磨性优良的耐酸陶瓷制造,外用铸铠装以资保护。叶轮材质主要为工程塑料,如用户需要也可配制工程陶瓷或其它材质。轴封结构为动力密封或机械密封。该泵具有耐腐蚀、耐磨损、耐温、维修方便,使用可靠等优点,适用于输送氢氟酸和热浓碱酸以外的含有悬浮固体颗粒的各种腐蚀性介质。使用温度低于 100℃,(工程塑料叶轮的使用温度视材质和介质的不同而定),温度急变小于 50℃。广泛应用于矿石、有色金属冶炼、白粉制造、稀土、石油、化工、化肥、农药、燃料及高磷土非金属原料提炼等行业中。




型号含义说明


性能参数表:


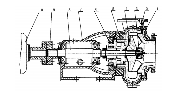
泵的结构:

1、泵盖      2、泵体      3、轴螺母      4、叶轮      5、副叶轮      6、轴封      7、轴承座      8、轴      9、联轴器