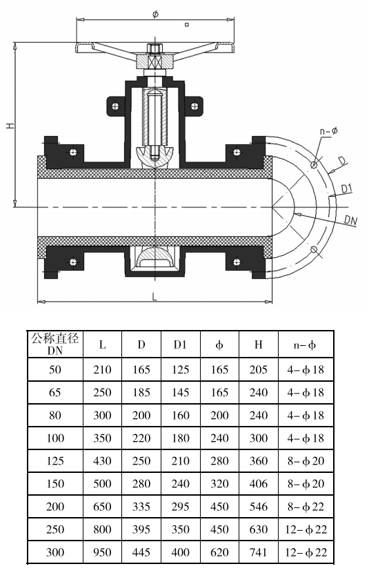
外形连接尺寸(图)

工作原理:
当顺转手轮时,使大小阀杆同时带动上下闸板,压缩管套,进行关闭,反转即行开启,这样,闸板在导柱之间上下往复完成阀门开闭工作。另外,因橡胶管套承力,因此在开关时,操作人员旋转手轮时只要感到适量抵触,均已达到开闭极点,切勿尽力或多人辅助,禁用其他工具开闭。
安装及维修:
1、管夹阀尺寸符合机械工业部标准,出厂前经过试验,按规定 10kg/cm持续5分钟无泄漏,安装时不必拆洗调整更动。
2、本阀在管道上任意安装,没有介质流向限制,久时使用,如有磨损或泄漏只需将阀门拆下调换新管套,其阀体可长期使用,经济实惠。